分享到
汽车行业关注(autochat.com.cn)01月02日报道——
1月1日,小米汽车官宣,20225年12月小米汽车交付量超过5万台。

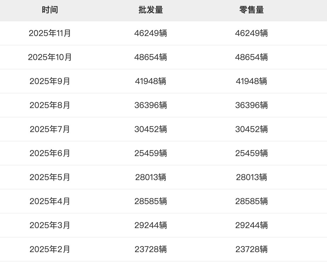
根据乘联分会此前公布的数据,2025年1-11月小米汽车累计销量为361675辆,加上2025年12月的超5万辆,小米汽车在2025年全年交付超41万辆。从月度来看,小米汽车在2025年前11月销量分别为22897辆、23728辆、29244辆、28585辆、28013辆、25459辆、30452辆、36396辆、41948辆、48654辆、46249辆。

据了解,小米汽车2025年销量目标经历两次调整,最终锁定35万辆,并于11月提前达成。在2024年12月31日,雷军跨年直播首次公布30万辆交付目标。到2025年3月18日,因产能提升,雷军宣布将小米汽车年销量目标上调至35万辆,较年初时增长16.7%。后来,雷军曾提及2025年预计交付超40万辆,属展望非官方目标。2025年12月2日,小米汽车宣布达成35万辆交付目标,提前完成。从目前来看,不管是35万辆还是40万辆,小米汽车都如期完成了。

目前,小米汽车在售的车型包括小米SU7、小米SU7 Ultra和小米YU7。其中,小米YU7是小米汽车在2025年推出的重磅车型,于2025年26日正式发布上市,7月6日正式交付首批车主。小米YU7共推出三种版本——标准版、Pro版、Max版,三种版本售价分别为25.35万元、27.99万元、32.99万元。小米YU7是小米汽车旗下首款SUV,定位“豪华高性能SUV”,长宽高分别为4999/1996/1600mm,轴距3000mm,提供单电机和双电机配置,采用承载式车身,前双叉臂式后五连杆式独立悬架。数据显示,2025年前11月小米YU7累计销量132350辆,月销量在2万辆以上,在9月开始成为小米汽车新热门车,销量超过小米SU7。

小米SU7是小米汽车旗下首款车型,提供标准版、Pro版、Max版,官方指导售价为21.59-29.99万元。数据显示,2025年前11月小米SU7累计销量229325辆,是小米汽车的销量担当,但由于小米YU7的爆火,分走了部分小米SU7的销量,导致其近几个月来销量出现了一定的下滑,从6月的25459辆降到了11月的12520辆。
小米汽车在2025年12月销量创新高,某种程度上也得益于现车选购。2025年12月3日,雷军在微博上宣布,小米汽车现车选购面向用户开放,可以在小米汽车APP上选购,也可以到门店咨询。据透露,小米现车选购开通后SU7和YU7标准版准新车和展车被一扫而空,准现车也只有Pro版和Max。而且,大部分车型都是大满配。到12月12日,小米汽车宣布“现车选购”新增准新车上架开售,同样被一扫而空。

按照小米汽车官方解释,所谓“现车”包含三种类型:全新现车、官方展车和准新车。全新现车均为原厂新车,车辆可能存在一定库龄,来源为官方识别并处理的异常订单,以及部分用户因不可抗力无法提车的车辆。官方展车即小米汽车官方门店的静态展车(非试驾车),部分车辆可能在展陈期间产生轻微磨损,已对车辆外观、内饰等进行清洗整备,具体以车况确认书为准。准新车则是曾因运输等原因出现过轻微瑕疵的原厂新车,已完成官方修复及售前附加检验。
目前,小米汽车暂未公布2026年销量目标。原计划在2025年12月31日进行的跨年直播,因雷军感冒而推迟到1月3日晚7点。此前,雷军曾于30日下午透露,计划于12月31日晚8点进行跨年直播,并邀请工程师现场拆解小米YU7。


据媒体报道,小米汽车在2026年初步计划推出4款新车,分别是新款SU7、SU7行政版、全新5座增程SUV,全新7座增程SUV。其中新款SU7和7座增程SUV计划上半年推出,SU7行政版与增程五座SUV计划下半年至年底推出。
欢迎订阅微信公众号《汽车行业关注》,第一时间汽车行业内幕消息,一起说说汽车圈子那些事。欢迎爆料!微信号autoWechat
阅读量:0
*以上文章留言只代表作者的个人观点,不代表本网站的观点与立场,如果你有更多的见解,欢迎投稿分享

5月29日,国家市场监督管理总局发布最新召回公告。公告显示,北京奔驰汽车有限公司宣布,自2026年8月10日起,召回2023年5月9日至2024年2月5日期间生产的部分国产C 200 L、C 260

5月29日,尊界汽车官方发文宣布,尊界S800 Grand Design典藏大观正式亮相并开启预订,预售价160万-200万元。据了解,新车将在6月下旬上市。作为尊界S800的高定版本,新车在外观方面

5月29日,启境汽车旗下首款车型启境GT7正式开启预售,新车定位中大型智能猎装车 ,共推出4款配置车型,预售价为21.99-30.99万元。据了解,新车将在6月正式上市。外观方面,前脸采用封闭式设计下


5月28日,小鹏集团发布最新财报。财报显示,一季度实现营业收入130.3亿元,同比下滑17.6%。其中,汽车销售收入为110.0亿元,同比下滑23.5%;与此同时,小鹏集团季度录得亏损17.8亿元,同




日本雷克萨斯被消费者誉为工匠品牌,品牌形象、服务以及质量方面都比较好,一直都有别于豪华市场其他“以价换量”的品牌,持续保持加价。
