分享到
汽车行业关注(autochat.com.cn)11月25日报道——
11月24日,天眼查信息显示,上海集度汽车有限公司新增一则破产审查案件,申请人与被申请人均为上海集度汽车有限公司,经办法院为上海市第三中级人民法院。

今日,“极越”微信公众号发布《上海集度汽车有限公司关于启动预重整程序的公告》,公告内容显示,上海集度汽车有限公司(品牌:极越汽车)于日前向上海市第三中级人民法院提交预重整申请,该申请已于2025年11月21日获正式受理。上海市第三中级人民法院同步指定北京市中伦(上海)律师事务所担任临时管理人,依法推进后续预重整相关工作。

公告显示,公司上海集度汽车有限公司启动预重整程序,旨在引入新的战略投资人,盘活现有资产与资源,维护资产价值,并保障用户售后权益。
上海集度汽车有限公司于2021年11月成立,法定代表人为夏一平,注册资本为40000万美元,实缴资本为30952.5652万美元,该公司位于上海市,是一家以从事零售业为主的企业。股权信息显示,该公司由集度汽车(香港)有限公司全资持股。

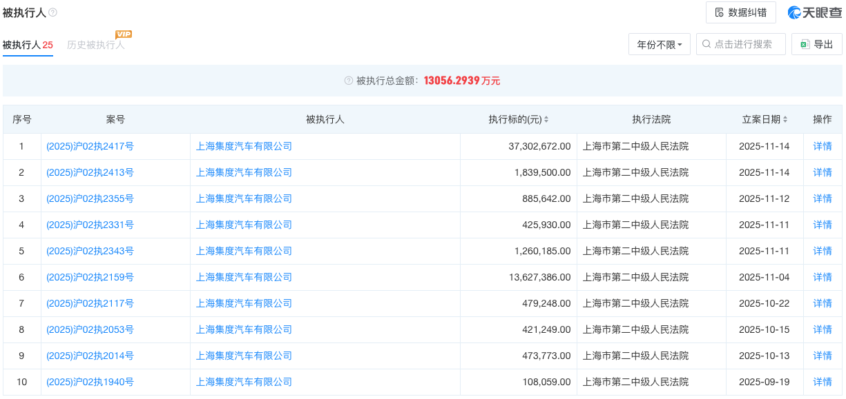
天眼查风险信息显示,目前上海集度汽车有限公司不仅存在多条被执行人,也面临诸多官司。截至发稿,上海集度汽车有限公司共存在2条失信被执行人,涉案总金额为46.968万元;25条被执行人,被执行总金额为13056.2939万元;3条限制消费令,涉案总金额为10189.491万元;4条终本案件,执行标的总金额为54757.469032万元。同时,该公司还存在52条开庭公告,其中开庭日期在2025年12月之后的共有7条。



上海集度汽车有限公司与极越汽车其实是同一家公司,极越汽车的前身即上海集度汽车,由百度和吉利控股集团两大股东发起设立,后因缺乏生产资质被搁置。为解决汽车生产资质,集度汽车于2023年8月更名为极越汽车,而集度ROBO-01也变为极越01。然而,更名之后没多久,极越汽车便被曝深陷裁员风波以及资金链断裂等困境。

2024年12月,吉利和百度发表关于极越汽车的联合声明,作为股东将积极协助集度管理层妥善处理相关事宜:第一时间解决员工社保缴纳、离职员工补偿问题;维护用户车辆正常使用、售后和维修保养;推进其他事宜的合理合法解决。此后,在有关部门的协调下,极越汽车按照“N+1”的标准为员工提供经济补偿。业内认为,极越汽车走到今天的田地与当前竞争激烈的新能源汽车市场环境有关,但更为主要的还是与极越汽车自身有关,包括品牌定位模糊、产品力不足等导致其市场表现不佳,此外,资金链断裂也是极越汽车倒下的主要原因之一,其在资金规划上没有做好充分的准备,没有预留足够的应急资金。

目前极越汽车旗下已布局极越01和极越07两款纯电车型。11月23日,多名极越车主在社交平台反馈,极越汽车手机APP端显示车辆处于离线状态,无法使用远程控制、解锁等功能。对此,极越汽车发文回应,接到反馈后,技术团队第一时间启动应急响应机制,全力开展问题排查与修复工作。经技术团队连夜抢修,极越APP离线及车辆远程控制功能已全部恢复正常,可正常使用。
欢迎订阅微信公众号《汽车行业关注》,第一时间汽车行业内幕消息,一起说说汽车圈子那些事。欢迎爆料!微信号autoWechat
阅读量:0
*以上文章留言只代表作者的个人观点,不代表本网站的观点与立场,如果你有更多的见解,欢迎投稿分享

在最新一期工信部申报图中,《汽车行业关注》发现比亚迪汽车工业有限公司新增“领汇”品牌,并在工信部申报多款车型,包括领汇e5、领汇e7、领汇e9、领汇M9四款车型,其中e系列均为纯电车型,领汇M9是唯一

1月8日,一汽-大众旗下速腾家族全新车型——速腾S官图正式发布,同时新车已同步在工信部完成新车申报。官方表示,全新速腾S命名中的“S”代表了德系安心(Safe)、智慧伙伴(Smart)、活力驾驭(Sw

当地时间1月10日,宝马集团正式发布最新销量。报告显示,宝马集团2025年全球销量为2,463,715辆,同比增长0.5%,其中第四季度销量667,981辆,同比下滑4.1%。2025年宝马电动车销量

1月9日,日产中国以及本田中国先后公布2025年12月以及2025年全年销量数据。数据显示,日产汽车中国区含乘用车和轻型商用车两大事业板块在内的12月销量为57947辆,与去年同期的74918辆相比下

在在工信部最新一期的工信部申报目录中,《汽车行业关注》获取到了蔚来品牌旗下全新大型SUV——蔚来ES9的申报信息。作为该品牌旗下全新旗舰SUV,新车采用与蔚来ES8相同的最新设计语言,整体辨识度较高。




一汽集团连续两年开展营销、采购等领域专项治理,党纪政务处分153人,处理合作商376家,斩断靠车吃车利益链。
