分享到
汽车行业关注(autochat.com.cn)02月17日报道——
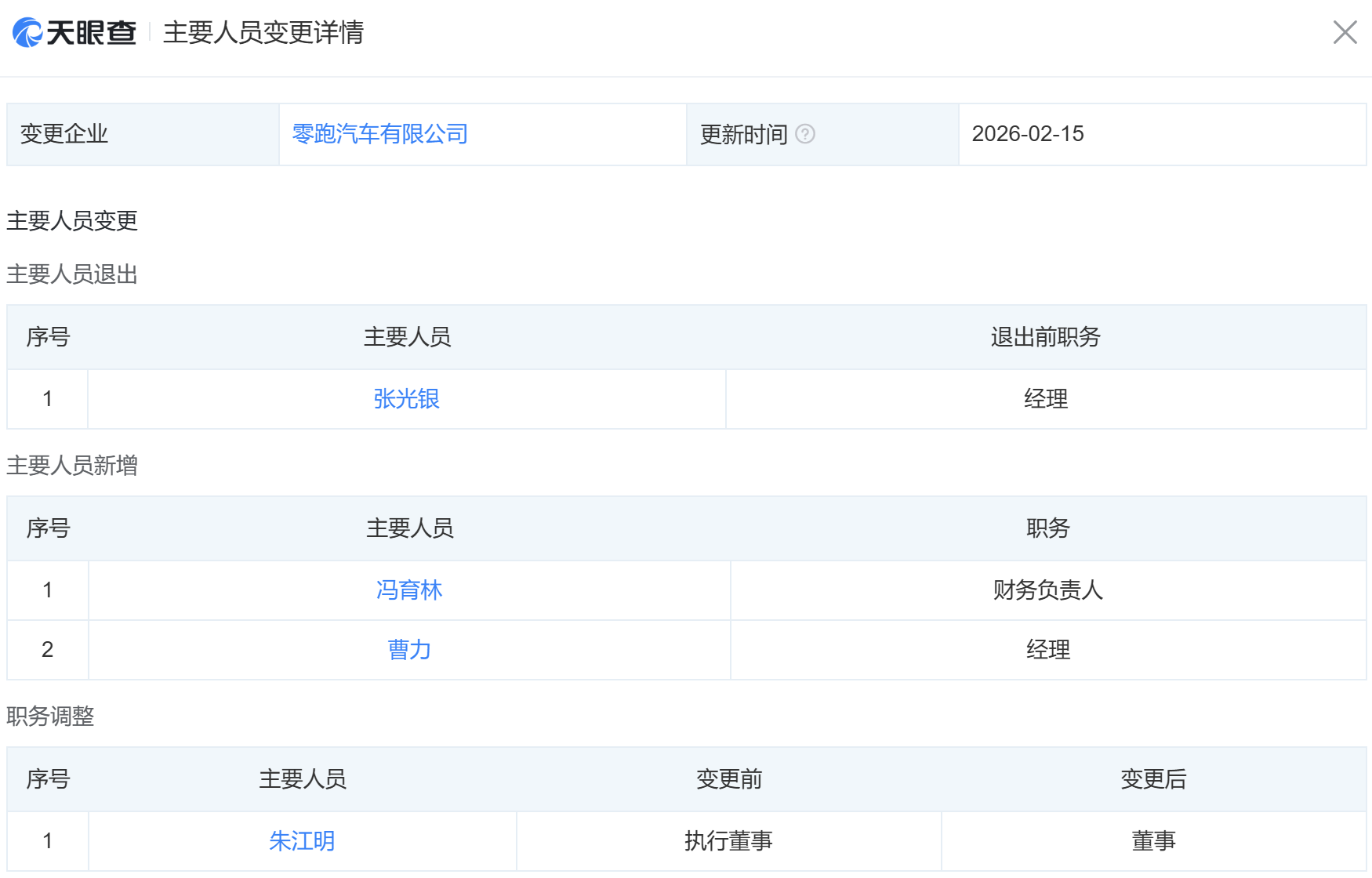
2月15日,天眼查信息显示,零跑汽车有限公司发生工商变更。天眼查显示,该公司注册资本由47.08亿元增加至55.58亿元,增幅达18%。与此同时,公司多位主要人员也发生变动。张光银卸任该公司经理,由曹力接替;戴永娟同时卸任零跑汽车有限公司的财务负责人,由冯育林接替。另外,朱江明职务由执行董事变更为董事。


其中,曹力于1984年5月出生,毕业于浙江理工大学,其于2015年加入零跑汽车,作为创始人团队成员,先后担任整车研发负责人、高级副总裁等职。现任零跑汽车高级副总裁、第二届董事会执行董事候选人,浙江凌启智控有限公司法定代表人。
资料显示,零跑汽车有限公司于2017年1月成立,法定代表人为朱江明,注册资本为555800万人民,实缴资本为470800万人民币,是一家以从事批发业为主的企业。股东信息显示,该公司由浙江零跑科技股份有限公司全资持股。

回顾零跑汽车的发展史,零跑汽车于2015年成立,2022年9月,零跑汽车在港交所敲钟上市,成为继蔚小理之后又一家登陆港股的造车新势力。从成立时间来看,零跑汽车成立至今已有10年之久,旗下产品涵盖零跑C11、零跑T03、零跑C16、零跑C10、零跑C01、零跑B10、零跑B01、零跑Lafa5等车型。其中,在过去的2025年里,零跑汽车发布并上市多款车型,包括B系列首款车型B10、B系列首款轿车B01、Lafa5以及C11改款,这是零跑汽车2025年销量稳定增长的关键。
零售数据显示,2025年全年零跑汽车销量为522867辆,其中销量最高的是零跑C10,为135043辆;零跑C11、零跑C16、零跑B10紧随其后,销量分别为95615辆、77672辆、73061辆;零跑B01、零跑T03、零跑Lafa5、零跑C01销量分别为67893辆、47724辆、17764辆、8095辆。

对于2026年,零跑汽车将上市D19、D99、A10等多款车型,届时零跑汽车将形成A、B、C、D四大系列矩阵,同时助力2026年销量更上一层楼。2025年11月,零跑汽车CEO朱江明表示,2026年零跑汽车将冲击100万辆销量目标。2月5日,零跑汽车COO徐军在个人微博透露,零跑汽车上调2026年的销量目标,由原本的100万辆提升至105万辆。
欢迎订阅微信公众号《汽车行业关注》,第一时间汽车行业内幕消息,一起说说汽车圈子那些事。欢迎爆料!微信号autoWechat
阅读量:0
*以上文章留言只代表作者的个人观点,不代表本网站的观点与立场,如果你有更多的见解,欢迎投稿分享

4月2日,新款小鹏MONA M03上市,新车共推出6款车型,售价区间为11.98-15.18万元。作为年度改款车型,新车在外观、智能化配置、三电系统方面均进行了全面的升级。外观方面:新车前脸最大的改变

4月3日,智己汽车官方发文宣布,奥运冠军、世界级田径传奇刘翔成为品牌代言人。对于选择刘翔担任品牌代言人一事,官方称从赛道到人生,刘翔以永不设限、突破自我的冠军精神,一次次诠释“传奇”二字,成为跨越时代

4月2日,特斯拉对外公布一季度全球产量与交付量数据。数据显示,一季度特斯拉全球产量为40.8万辆,同比增长12.7%;交付量35.8万辆,同比增长6.5%。其中,Model 3和Model Y合计交付

据天眼查显示,长安马自达汽车有限公司发生工商变更,张德勇卸任法定代表人、董事长、董事,由倪尔科接任。张德勇,1974年生,会计专业硕士,高级会计师。张德勇曾在重庆长安汽车股份有限公司、重庆长安工业集团

4月1日,上汽集团发布2025年财报显示,2025年上汽集团实现营业收入6562.4亿元,同比增长4.6%;实现归母净利润101.1亿元,同比增长506.45%;扣非归母净利润74.2亿元,同比扭亏为