分享到
汽车行业关注(autochat.com.cn)12月23日报道——
据全国企业破产重整案件信息网显示,12月22日,观致汽车有限公司(下称“观致汽车”)新增一则破产审查案件,申请人为深圳欣本供应链有限公司,被申请人为观致汽车有限公司,经办法院为江苏省苏州市中级人民法院。

天眼查信息显示,观致汽车有限公司于2007年12月成立,曾用名为奇瑞量子汽车有限公司,法定代表人为何华,企业注册资本和实缴资本均为169.25亿人民币,是一家以从事汽车制造业为主的企业。股东信息显示,观致汽车有限公司由杭州诚茂投资有限公司、芜湖奇瑞汽车投资有限公司和QUANTUM(2007)LLC3家公司共同持股,持股比例分别为63%、25%和12%。也就是说,杭州诚茂投资有限公司是观致汽车的大股东。

作为国内较早定位高端的自主品牌,观致汽车的起点并不低。2013年观致汽车在国内正式亮相并发布了首款量产车型——观致3轿车,此后还先后推出观致3五门版、观致3都市SUV、观致5 SUV及观致3 GT车型,虽然观致汽车推出产品的速度并不慢,但其在华发展并不顺利。2017年12月,宝能集团战略投资观致汽车成为大股东,形成宝能、奇瑞汽车、量子公司三方股东控股,但观致汽车的发展依然不顺畅,而最近几年,观致汽车已鲜少出现在大众视野。

2022年5月,山东省汽车流通协会已公布文件将观致汽车列入消费黑名单,并向消费者发出“谨慎购买宝能观致品牌汽车”的消费警示,这也是近几年观致汽车在车市无人问津的原因之一。当然,在更早之前的2021年开始,观致汽车已深陷内部员工流失、外部供应商和经销商维权等诸多困局,而目前其经营状况也尤为困难。

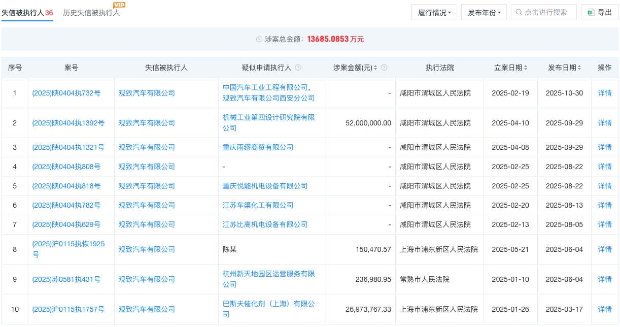
风险信息显示,截至目前,观致汽车有限公司存在多条被执行人、限制消费令、失信被执行人信息。其中,限制消费令15条,涉案总金额6523.3969万元;终本案件380条,执行标的总金额为165634.794279万元;失信被执行人36条,涉案总金额为13685.0853万元;被执行人37条,被执行总金额为76407.8124万元;股权冻结31条。



如今观致汽车早已身处悬崖边上,未来其将何去何从仍扑朔迷离,但可以肯定的是,即便后续观致汽车迎来白衣骑士的救援,如果后续其在研发和产品上无法有所突破,被市场淘汰或许也只是时间问题。
欢迎订阅微信公众号《汽车行业关注》,第一时间汽车行业内幕消息,一起说说汽车圈子那些事。欢迎爆料!微信号autoWechat
阅读量:0
*以上文章留言只代表作者的个人观点,不代表本网站的观点与立场,如果你有更多的见解,欢迎投稿分享

在工信部最新一期的工信部申报目录中,《汽车行业关注》获取到了吉利银河全新车型——银河TT的申报信息。吉利银河TT定位中大型轿车,采用纯电动力,车长为4999mm,轴距为2920mm。外观方面,银河TT

在最新一期工信部申报目录中,《汽车行业关注》查询到奇瑞风云全新车型——风云T7申报图已出现在申报目录上。新车采用风云家族最新风格设计,定位紧凑型SUV,动力上搭载单电机,预计定价15-20万元纯电市场

在工信部最新一期的工信部申报目录中,《汽车行业关注》获取到了鸿蒙智行尊界首款MPV——尊界V800的申报信息。尊界V800定位大型MPV,尺寸特别大,车长5495mm,轴距3430mm,采用三排七座布

5月9日,安徽江淮汽车集团股份有限公司(下称“江淮汽车”)发布公告称,5月8日收到江淮汽车董事马翠兵提交的书面辞职报告。因工作调动原因,马翠兵辞去江淮汽车董事及董事会审计委员会委员职务。根据相关规定,

当地时间5月8日,保时捷股份公司发布公告宣布,终止旗下Cellforce Group GmbH、Porsche eBike Performance GmbH及Cetitec GmbH三家德国子公司的运