分享到
汽车行业关注(autochat.com.cn)12月02日报道——
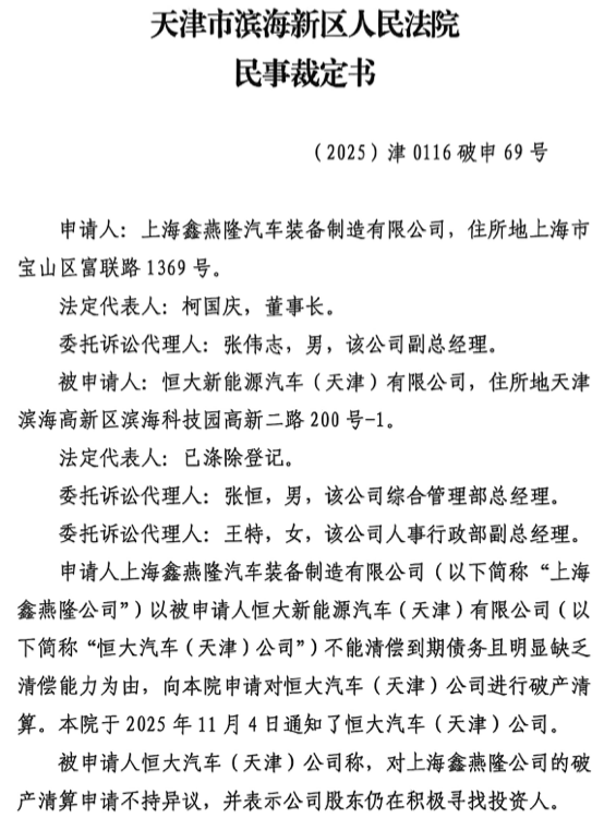
12月1日晚,恒大汽车再发布《内幕消息及继续停牌》公告。公告内容显示,中国恒大新能源汽车集团有限公司(下称“本公司”)已收到来自天津市滨海新区人民法院的裁决。根据该裁决,法院已就本公司的间接全资附属公司——恒大新能源汽车(天津)有限公司的破产以及清算委任管理人,并对债权人债权证明以及债权人会议作出指示。

此前因不能清偿到期债务且明显缺乏清偿能力,上海鑫燕隆汽车装备制造有限公司向法院申请对恒大新能源汽车(天津)有限公司进行了破产清算,天津市滨海新区人民法院于11月4日通知恒大新能源汽车(天津)有限公司。随后的11月12日,天津市滨海新区人民法院公告,法院依据上海鑫燕隆汽车装备制造有限公司的申请于2025年11月12日裁定受理恒大新能源汽车(天津)有限公司破产清算一案,并于2025年11月12日指定恒大新能源汽车(天津)有限公司清算组为恒大新能源汽车(天津)有限公司管理人。次日,恒大汽车表示法院已受理债权人对公司之间接全资附属公司恒大新能源汽车(天津)有限公司的破产以及清算呈请。

据公告了解,上海鑫燕隆汽车装备制造有限公司与恒大新能源汽车(天津)有限公司买卖合同纠纷一案,法院于2022年11月29日作出判决,判令恒大新能源汽车(天津)有限公司支付上海鑫燕隆汽车装备制造有限公司货款9,541,032.28元,并判决恒大新能源汽车(天津)有限公司负担诉讼费用39,117元。判决生效后,恒大新能源汽车(天津)有限公司未在判决确定的期限内履行给付义务,上海鑫燕隆汽车装备制造有限公司向本院申请强制执行,恒大新能源汽车(天津)有限公司暂无可供执行的财产,本院于2023年9月5日作出裁定终结本次执行程序。恒大新能源汽车(天津)有限公司称,公司已于2024年1月初停产,并提供公司资产负债表。资产负债表显示,截至2025年9月30日,恒大新能源汽车(天津)有限公司资产总计3,577,227,734.41元,负债总计7,687,175,268.34元,所有者权益合计-4,109,947,533.93元,故法院受理上海鑫燕隆汽车装备制造有限公司对恒大新能源汽车(天津)有限公司的破产清算申请。
天眼查公开信息显示,恒大新能源汽车(天津)有限公司于2015年6月成立,曾用名为国能新能源汽车有限责任公司,注册资本为41亿元人民币,实缴资本为30.71亿元人民币,是一家以从事汽车制造业为主的企业。股东信息显示,该公司由国能汽车技术开发有限责任公司全资持股。在本次公告中,恒大汽车再次强调,恒大新能源汽车(天津)有限公司为集团于天津拥有智能出行产品生产设施的制造基地的注册拥有人,基地的生产已自2024年1月起暂停。

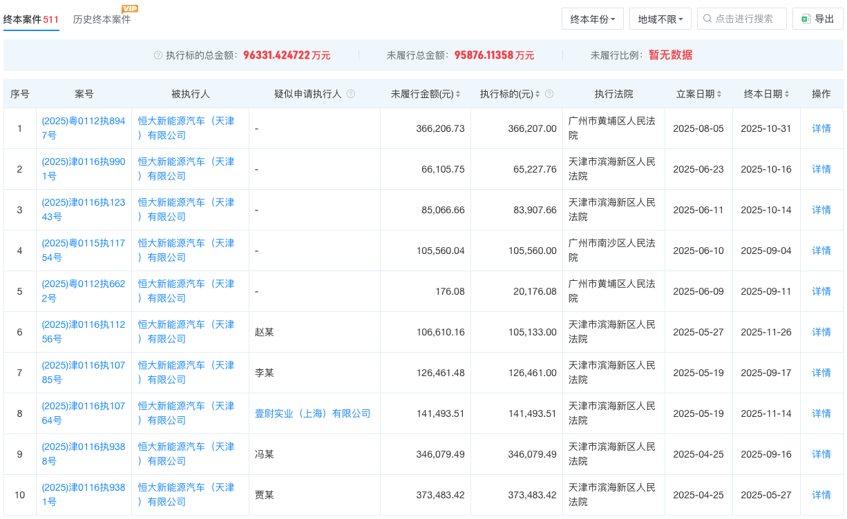
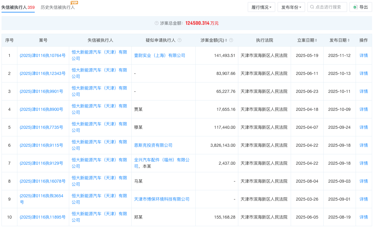
天眼查风险信息显示,截至发稿前,恒大新能源汽车(天津)有限公司存在143条限制消费令,涉案总金额为2594.667万元;511条终本案件,执行标的总金额为96331.424722万元;359条失信被执行人,涉案总金额为124500.314万元;38条被执行人,被执行总金额为58886.5427万元;18条股权冻结信息。


此外,恒大汽车还在本次公告中宣布股份继续停牌。今年6月,恒大汽车宣布因继续面临流动性问题,2024年财报发布日期无法确定,同时股票自4月1日起停牌的状态将无限期延长。11月13日,恒大汽车在港交所公告,应公司要求,公司股份已于2025年4月1日上午九时正起暂停于香港联合交易所有限公司所主板买卖,以待刊发其尚未刊发的财务业绩以及达成复牌指引,并将继续暂停买卖,直至另行通知。
欢迎订阅微信公众号《汽车行业关注》,第一时间汽车行业内幕消息,一起说说汽车圈子那些事。欢迎爆料!微信号autoWechat
阅读量:0
*以上文章留言只代表作者的个人观点,不代表本网站的观点与立场,如果你有更多的见解,欢迎投稿分享

12月1日晚,东风日产旗下全新车型——东风日产N6正式上市。新车共推出3款车型,售价为-万元。作为参考,新车预售价格为10.99万-12.19万元,预售权益价为10.69-12.19万元。据了解,新车

12月1日晚,恒大汽车再发布《内幕消息及继续停牌》公告。公告内容显示,中国恒大新能源汽车集团有限公司(下称“本公司”)已收到来自天津市滨海新区人民法院的裁决。根据该裁决,法院已就本公司的间接全资附属公

12月1日,吉利汽车正式公布2025年11月销量数据。数据显示,2025年11月吉利汽车销量为310428辆,同比增长约24%,1- 11月累计销量2787750辆,同比增长约42%,充分展现了吉利汽

12月1日,小米汽车官方微博发布公告宣布“现车选购”服务即将启动。根据公告,此次提供的现车资源包括全新现车、官方展车以及准新车共三种类型。小米汽车解释,所有现车都已通过严格质检,部分车型经官方修复,都

12月1日,国内电动汽车品牌陆续如期对外发布2025年11月交付数据。从交付数据来看,主流的电动汽车品牌再次交出了相对不错的成绩单,整体依旧延续增长的态势。据统计,零跑汽车月销量再超过7万,小米汽车连