分享到
汽车行业关注(autochat.com.cn)01月14日报道——
1月14日,#宝能董事长姚振华实名举报#话题突然冲上微博热搜榜单第一。

今日中午,宝能集团董事长、观致汽车实控人姚振华通过宝能集团官方账号《中国宝能》公众号发布一则实名举报视频。视频中,姚振华向最高人民法院、江苏省高级人民法院实名举报,常熟相关部门在观致汽车2.7亿元执行案件中存在多项违法行为,包括违法成立清算工作组、强制对观致汽车工厂设备进行风控查封,严重超额查封执行标的;强制拍卖观致汽车土地、厂房以及常规机器设备、专用车型设备等核心资产。同时,姚振华在视频中指出,经第三方机构评估,这些资产总价值约80亿元,但常熟法院却低估评估为仅15亿元。并在苏州中级人民法院2025年12月22日立案受理观致汽车破产重整申请后,公然违反《企业破产法》规定,违法快速推进一拍、二拍程序。其中,二拍起拍价为8.6亿元,并计划于2026年1月15日10点正式开拍。

据京东资产交易平台信息显示,常熟市通达路1号不动产及厂区内设备设施、零配件等财产将在明日上午10点整进行二次拍卖,起拍价为8.59亿元,资产评估价约15.34亿元,目前仅1人报名。

此外,姚振华还在视频中指出,常熟相关部门先将观致汽车工厂的土地、厂房、通用设备及专用设备等核心优质资产以低价拍卖侵吞,剩下一个空壳公司后再进行破产清算。直指这是典型的“吃死人不吐骨头”的做法,同时强调“今天的公开举报,实属万般无奈。”
天眼查信息显示,观致汽车有限公司于2007年12月成立,曾用名为奇瑞量子汽车有限公司,法定代表人为何华,企业注册资本和实缴资本均为169.25亿人民币,是一家以从事汽车制造业为主的企业。股东信息显示,观致汽车有限公司由杭州诚茂投资有限公司、芜湖奇瑞汽车投资有限公司和QUANTUM(2007)LLC3家公司共同持股,持股比例分别为63%、25%和12%。

作为国内较早定位高端的自主品牌,观致汽车的起点并不低。2017年12月,宝能集团战略还投资观致汽车成为大股东,形成宝能、奇瑞汽车、量子公司三方股东控股,但观致汽车的发展依然不顺畅。2025年12月,观致汽车有限公司新增一则破产审查案件,申请人为深圳欣本供应链有限公司,经办法院为江苏省苏州市中级人民法院。

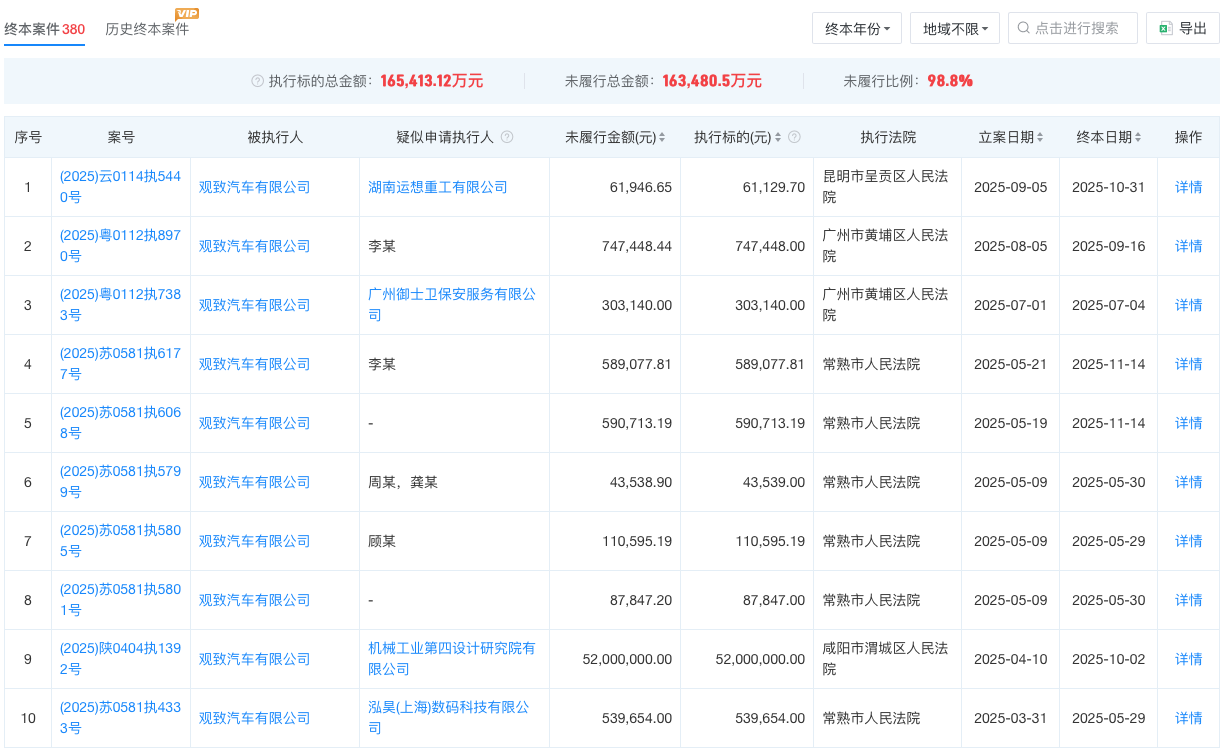
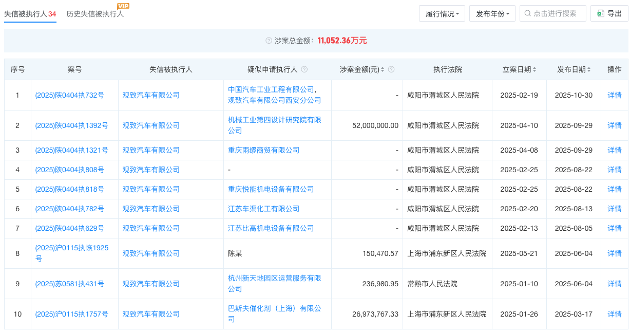
天眼查风险信息显示,截至发稿前,观致汽车有限公司存在多条被执行人、限制消费令、失信被执行人信息。其中,终本案件380条,执行标的总金额为165413.12万元;失信被执行人34条,涉案总金额为11052.36万元;被执行人39条,被执行总金额为76853.67万元,其中最新一条为今年1月4日新增,执行标的为872.50万余元,执行法院为咸阳市渭城区人民法院;股权冻结31条。



姚振华在本次视频中表示,作为观致汽车的股东,宝能集团自2018年至2025年底,对观致汽车累计投资约260亿元,并强调企业仍具备重整价值,仅需投入20亿元即可在10个月左右实现复产,每年可创造200多亿元的营收、20亿元以上税收,以及30至40亿元的利润。今年1月12日,已有33家观致债权人向苏州中院申请尽快做出破产重整裁决;同日也向长春法院提交执行异议申请,要求立即依法撤销二拍,公平保护全体债权人权益。
欢迎订阅微信公众号《汽车行业关注》,第一时间汽车行业内幕消息,一起说说汽车圈子那些事。欢迎爆料!微信号autoWechat
阅读量:0
*以上文章留言只代表作者的个人观点,不代表本网站的观点与立场,如果你有更多的见解,欢迎投稿分享

在最新一期工信部申报目录中,《汽车行业关注》查询到阿维塔旗下新车——阿维塔07L已出现在申报目录上。据了解,新车定位智美家庭豪华SUV,于5月9日正式官宣定名为阿维塔07L,并发布新车官图。结合官图和

5月11日,本田中国公布最新销量,4月本田中国终端销量为22,595辆,同比下滑48.3%,1–4月累计终端销量145,065辆,同比下滑28.0%。本田曾是国内第二大日系汽车公司,仅次于丰田,依靠广

近日,在工信部发布第 407 批《道路机动车辆生产企业及产品公告》新产品公示中,东风奕派M8申报图曝光。据了解,新车定位大六座SUV,是东风奕派与华为乾崑战略合作的首款车型,新车将在5月内正式发布。外

5月11日,沃尔沃汽车宣布其大中华区管理层最新任命。段建军即刻担任沃尔沃汽车大中华区总裁兼CEO,加入集团全球核心管理层以及全球销售管理层,并向中国董事会汇报,全面执掌大中华区端到端业务,负责全价值链

5月11日,法拉第未来(FF)在官方微博发文宣布,贾跃亭出任FF全球CEO。与此同时,还宣布Jerry Wang为FF全球执行董事长;同意Matthias Aydt辞去全球Co-CEO职务,任命独立董