分享到
汽车行业关注(autochat.com.cn)11月21日报道——
天眼查信息显示,恒大智能汽车(广东)有限公司、恒大新能源汽车(广东)有限公司两家公司发生工商变更,原股东恒大新能源汽车投资控股集团有限公司退出,新增广州聚力现代产业发展有限公司(下称“广州聚力”)为控股股东。股东信息显示,广州聚力对上述两家公司出资额分别为25亿元和50亿元,持股比例均为100%。


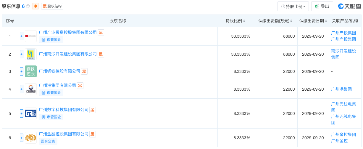
天眼查公开信息显示,广州聚力现代产业发展有限公司于2024年10月成立,法定代表人为曾锋,注册资本为26.40亿元,实缴资本为3000万元,是一家以从事商务服务业为主的企业。股东信息显示,该公司由广州产业投资控股集团有限公司、广州南沙开发建设集团有限公司、广州钢铁控股有限公司、广州港集团有限公司、广州数字科技集团有限公司、广州金融控股集团有限公司共6家公司共同持股,持股比例分别为33.3333%、33.3333%、8.3333%、8.3333%、8.3333%、8.3333%。

恒大智能汽车(广东)有限公司于2018年2月成立,曾用名为恒大法拉第未来智能汽车 (广东) 有限公司,法定代表人为周彬,注册资本为25亿元,是一家以从事汽车制造业为主的企业。恒大新能源汽车(广东)有限公司于2019年1月成立,曾用名为恒大国能新能源汽车 (广东) 有限公司,法定代表人为李福奎,注册资本为50亿元,是一家以从事汽车制造业为主的企业。据了解,上述两家公司均是恒大汽车位于广州南沙的整车生产基地的主体公司。
2024年7月,恒大汽车发布公告称,公司附属公司恒大智能汽车(广东)有限公司和恒大新能源汽车(广东)有限公司(相关附属公司)收到相关地方人民法院下发的通知书,相关附属公司的个别债权人于7月25日向相关地方人民法院申请对相关附属公司进行破产重整,后相关地方人民法院裁定相关附属公司进入破产重整程序。

2024年8月,广州市中级人民法院分别裁定受理恒大智能汽车(广东)有限公司以及恒大新能源汽车(广东)有限公司两家公司两宗破产重整案,并于同日指定北京市中伦(深圳)律师事务所分别担任该两案管理人。


回顾恒大汽车的发展历程,相较于其它造车车企,恒大汽车以“财大气粗”的形象进入汽车行业。众所周知,许家印在造车方面的出手颇为阔绰,一度高喊“买买买合合合圈圈圈大大大”才能“好好好”,在这种造车模式下累计投资已高达近500亿元,希望用3-5年的时间成为全世界规模最大、实力最强的新能源汽车集团。但可惜的是,恒大汽车入局汽车行业后,一路走来并不如意。自成立以来,恒大汽车旗下仅有恒驰5一款车型,且市场存在感极其有限,恒驰5上市销量不佳也直接导致恒大汽车受困于资金链紧张,同时还面临工厂停产、子公司破产重整、生存危机等一系列难题,虽然恒大汽车也积极寻求自救,但最终都无果。

目前恒大汽车已处于严重资不抵债状态,面临巨大的资金压力。财报显示,截至2024年6月30日,恒大汽车收入为3837.7万元,同比减少75.17%;净亏损扩大至202.57亿元,同比增亏194.73%,超出2023年全年;资产总额为163.69亿元,现金及现金等价物仅3900万元;负债高达743.5亿元。

同时,当前的恒大汽车仍处于停牌状态。今年6月30日,恒大汽车宣布因继续面临流动性问题,2024年财报发布日期无法确定,同时股票自4月1日起停牌的状态将无限期延长。11月13日,恒大汽车在港交所公告,应公司要求,公司股份已于2025年4月1日上午九时正起暂停于香港联合交易所有限公司所主板买卖,以待刊发其尚未刊发的财务业绩以及达成复牌指引,并将继续暂停买卖,直至另行通知。
欢迎订阅微信公众号《汽车行业关注》,第一时间汽车行业内幕消息,一起说说汽车圈子那些事。欢迎爆料!微信号autoWechat
阅读量:0
*以上文章留言只代表作者的个人观点,不代表本网站的观点与立场,如果你有更多的见解,欢迎投稿分享

据媒体报道,宝马X2将停止引入国内市场。目前,宝马X2在国内提供三款车型,两款sDrive25i车型售价分别为24.8万元和27.8万元,M35i售价为32.8万元,车市竞品包括奥迪Q3轿跑、奔驰GL

3月2日,福特汽车(中国)有限公司(下称“福特中国”)对外宣布,福特中国传播及企业社会责任副总裁杨美虹将于今年3月底正式退休,从4月1日起,现任林肯中国传播与公共事务副总裁的李方方将接任杨美虹,出任福

3月2日,别克至境世家纯电版首发亮相并开启预售,官方并未公布预售价区间,预售期间(即日起至3月16日24点前)下定的用户可享受“5000元定金抵扣10000元购车款”的限时早鸟权益。据了解,别克至境世

3月2日,零跑汽车法务部发布《关于共建清朗网络环境的倡议书》。零跑汽车法务部表示,即日起,零跑汽车正式启动“清朗行动”,面向社会各界开放网络黑公关举报渠道,对提供有效线索者予以奖励。零跑汽车法务部称,

3月2日,新款小鹏X9纯电版上市,新车共推出5款车型,售价区间为30.98-36.98万元。新车作为年度改款版本,新款小鹏X9纯电版的外观延续现款车型,主要针对辅助驾驶系统升级,全系搭载第二代VLA。